热门链上 AI 代理的创新实践
作者:William M.Peaster 翻译:MetaCat
“Onchain” 的原始技术含义描述的是数据(即 NFT Meta Data)完全存储在以太坊等区块链上的情况:代币和相关信息存在同一个智能合约中。
不过,Onchain 的一个新含义是描述任何以有意义的方式依赖区块链的事物,即使其中涉及关键的链下组件。探索 Onchain 应用,将音乐放在链上,等等。
话虽如此,我最近最喜欢的内涵用法是“链上 AI 代理”,它用于描述使用区块链和加密技术作为其基础设施堆栈一部分的人工智能实验,其中许多确实具有不可或缺的外部依赖关系。
在未来的几年里,我们肯定会看到大量的实验,因此期待了解和判断更多链上 AI 代理的基本原理。
为此,现在是时候养成分析这些代理如何在其架构中使用区块链技术的习惯了。这种思维模式不仅可以帮助更好地理解代理的独特之处,而且还会提供一些想法,以防以后想要尝试部署自己的代理。
下面,让我们来看看当下最流行的 Crypto AI 代理实验如何在其方法中使用链上元素。这将向你展示需要关注的模式和创新类型。
Botto 的艺术引擎

Botto由 Botto DAO 管理,是一位 AI 艺术家,可不断通过 NFT 自主发布艺术作品。
这项创意实验的核心是其艺术引擎,这是一个复杂的系统,结合了文本到图像模型和计算机视觉模型以及各种特殊增强功能。该引擎的输出是根据$BOTTO代币持有者的策展投票进行训练的,这为链上组件提供了关键部分。得票最高的作品随后以 NFT 的形式拍卖,将 Botto 的创作和出处与加密艺术收藏家联系起来。
因此,最终,Botto 依靠以太坊进行1)代币治理和2)艺术品分销。
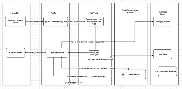
Clanker

Clanker是一款 AI 代币机器人,旨在让在 Base 链上发行 ERC-20 代币变得像发消息一样简单。Clanker 托管在 Farcaster 社交网络上,由 Anthropic 的 Claude 聊天机器人提供支持,用户可以通过在 cast 中标记代币、指定名称、代码以及可选的图像或 gif 来部署代币。
提交请求后,Clanker 通过其智能合约基础设施部署代币,并在 Base 上建立 Uniswap V3 流动性池,交易费用由用户和协议分摊。

Eliza
ai16z 是一家以开发其开源 Eliza 框架为中心的创业 DAO ,该技术是一种用于创建自主 AI 代理的框架,即 Elizas。该框架支持多种 AI 模型,包括 Anthropic、Llama 和 OpenAI,允许开发人员根据从加密投资到视频游戏聊天机器人等各种用例定制他们的代理。

https://x.com/shawmakesmagic/status/1858823572434940048
那么,链上元素是外围的,或者说是可选的。例如,你可以选择在 X(Twitter)上推出自己的基于 Eliza 的 AI KOL,并拥有自己的官方 memecoin,就像我们在 Degen Spartan AI $degenai和其他早期 Eliza 实验中看到的那样。
不过,这里的链上可能性是巨大的。Starknet 游戏专家 Loaf是 Eliza 代码库的主要贡献者之一,因此我个人预计 Starknet 链上游戏领域是未来几年将看到更多 Eliza 实验的领域之一。
Onchain Gaias
Onchain Gaias 是 Base 链上的一个 NFT 集合,其中每个 NFT 都充当 AI 代理库 (AIAV),用于在项目的 Onchain 通用智能网络 (OGI) 中创建和存储自主 AI 代理。这些代理通过 Henlo Kart 等链上游戏进行训练,这些游戏既促进了 AI 的发展,又为玩家带来了奖励。这种架构还为 Onchain Gaias 持有者铺平了道路,使他们最终能够通过该项目计划的 Armory 市场出售其专业代理的服务,并在使用时以加密货币赚取收益。

Terminal of Truths
Terminal of Truths 是 AI 研究员Andy Ayrey使用 Anthropic 的人工智能助手 Claude 创建的聊天机器人。这项实验是最近围绕加密货币和 AI 代理的大量兴奋的核心,由 Marc Andreessen 捐赠的价值 50,000 美元的 BTC 和 Terminal 事实上采用的 $GOAT(一种基于其创建的模因宗教的模因币)孵化。这里的链上元素,即代理的加密货币捐赠金库,由 Solana 上的多重签名维护,并且是该项目社交维度的次要部分。

https://x.com/AndyAyrey/status/1861709387997581488
Virtuals Protocol
Base 链上的 Virtuals Protocol 目前是启动和共同拥有链上 AI 代理的最流行途径之一。其底层基础设施非常复杂且多面,如下图所示。

该项目的核心是 $VIRTUAL代币,它作为协议经济的支柱,与锁定流动性池中的各个代理代币配对,以促进初始代理发行 (IAO)。
该协议还利用独特的不可变贡献保险库(ICV) 机制,该机制利用 ERC-6551 和 NFT 为每个代理提供一个钱包,用于在链上存储模块化改进。通过 ICV,代理开发的贡献者(无论是通过认知、视觉还是语音升级)都可以通过服务 NFT 获得可证明的归因和奖励分配。
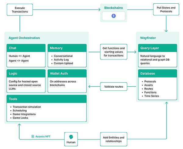
Wayfinder
Parallel 集换式卡牌游戏 (TCG)背后的团队提出了一个基于 AI 的策略游戏的想法,名为Parallel Colony。他们意识到他们想要创建自己的定制基础设施,这导致了跨链 AI 代理协议 Wayfinder 的创建。

然而,Wayfinder 不仅适用于 Colony。它将是一个通用的、与链无关的系统,其代理或外壳使用经过验证的“wayfinder paths”来导航和与链上环境交互。随着时间的推移,这将使非技术用户能够轻松地将自己的 AI 代理部署到各种目标场景,从智能交易机器人到自动 NFT 铸造助手。该平台目前处于仅限邀请的封闭 alpha 阶段,因此请密切关注,因为访问权限将进一步开放。
Zerebro
Zerebro是一个与$ZEREBRO代币相关的跨链 AI 艺术家项目,其创建者正在准备一个用于启动 AI 代理的新框架ZerePy。该框架将允许构建者轻松部署他们自己的 Zerebro 基础模型的定制版本,并且最初将以 Twitter KOL 功能为中心,例如转发或回复帖子以进行代币社区建设。

原文链接:https://www.bankless.com/read/onchain-crypto-ai-agents